{"product":{"productId":"agid.24775","price":95.92,"name":"Locating cylinder stainless steel pneumatic"},"currency":"EUR"}
Material
Body, stainless steel.
Seal, NBR.
Seal, NBR.
Version
Stainless steel bright.
Show more
Show less
Description
Product description
By locating cylinder Form A, the clamping balls are pushed out by a spring. Compressed air is used to retract the balls.
By locating cylinder Form B, the clamping balls are initially retracted. Compressed air pushes the balls out.
By locating cylinder Form B, the clamping balls are initially retracted. Compressed air pushes the balls out.
Material
Body, stainless steel.
Seal, NBR.
Seal, NBR.
Version
Stainless steel bright.
Note for ordering
Form A is marked with a groove.
Note
The stated clamping and retaining forces are related to an operating pressure of 0.5 Mpa.
When using several positioning units, the distance tolerance of ± 0.1 mm should not be exceeded.
Repeat accuracy ±0.2 mm.
When using several positioning units, the distance tolerance of ± 0.1 mm should not be exceeded.
Repeat accuracy ±0.2 mm.
Assembly
Installation dimensions are for a 6 mm thick plate.
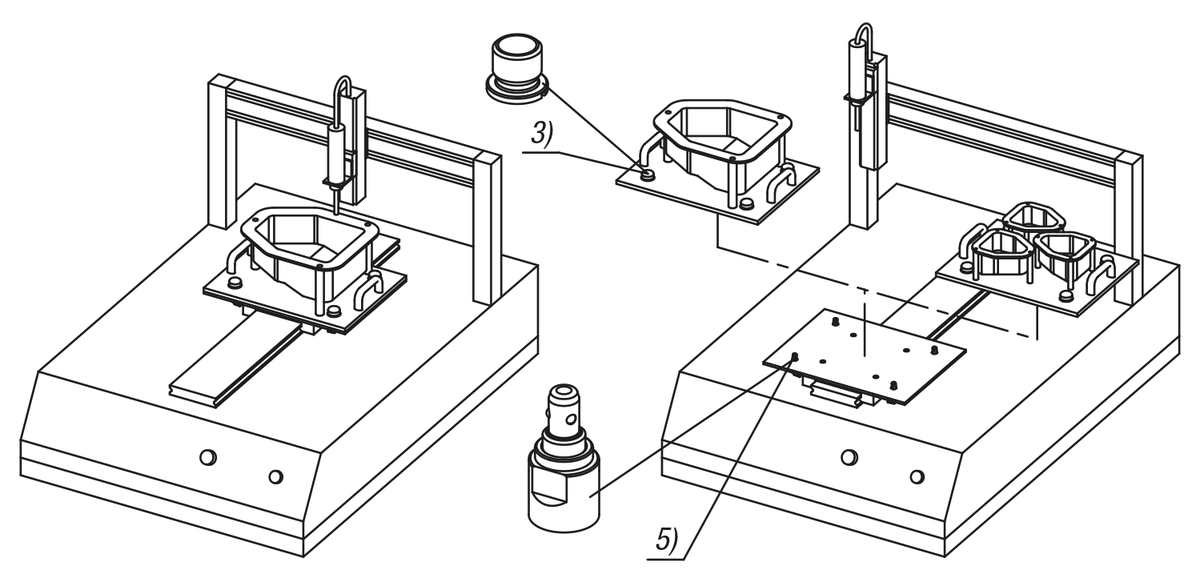
Drawing reference
1) Form A ID groove
2) Pneumatic connection
3) Locating bush for locating cylinder
4) Form A locating cylinder
5) Form B locating cylinder
2) Pneumatic connection
3) Locating bush for locating cylinder
4) Form A locating cylinder
5) Form B locating cylinder
Accessory
03161-11 locating bushes stainless steel.
Important note on downloading CAD models
In order to download our CAD models, you must log in first. If you have not created an account yet, please register under "My Account" (right side of the screen) and follow the instructions.